CA3089E FM IF-Amplifier and Discriminator
Similar to AN377 LM3089N HA1137 TDA1200 KB4402 and TCA3189
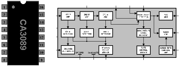
CA3089E FM Receiver IF System
General Description:
The CA3089 has been designed to provide all the major functions required for modern FM IF designs of automotive, high-fidelity and communications receivers.
Features:
Three stage IF amplifier/limiter provides 12 mV (typ) b3 dB limiting sensitivity
Balanced product detector and audio amplifier provide 400 mV (typ) of recovered audio with distortion as low as 0.1% with proper external coil designs.
Four internal carrier level detectors provide delayed AGC signal to tuner, IF level meter drive current and interchannel mute control
AFC amplifier provides AFC current for tuner and/or center tuning meters
Improved operating and temperature performance, especially when using high Q quadrature coils in narrow band FM communications receivers
No mute circuit latchup problems
| Pin | Name | Description |
| 1 | | IF Input |
| 2 | | IF In Bypass |
| 3 | | IF In Bypass |
| 4 | | Frame |
| 5 | | Mute Control |
| 6 | | Audio Output |
| 7 | | AFC Output |
| 8 | | IF Output |
| 9 | | Quad Input |
This counter shows the number of hits since the
29th January 2000

Go Back To The Components Page
Go Back To The Main Home
Page
Copyright © The Defpom 1997-2008
https://www.radiomods.co.nz/